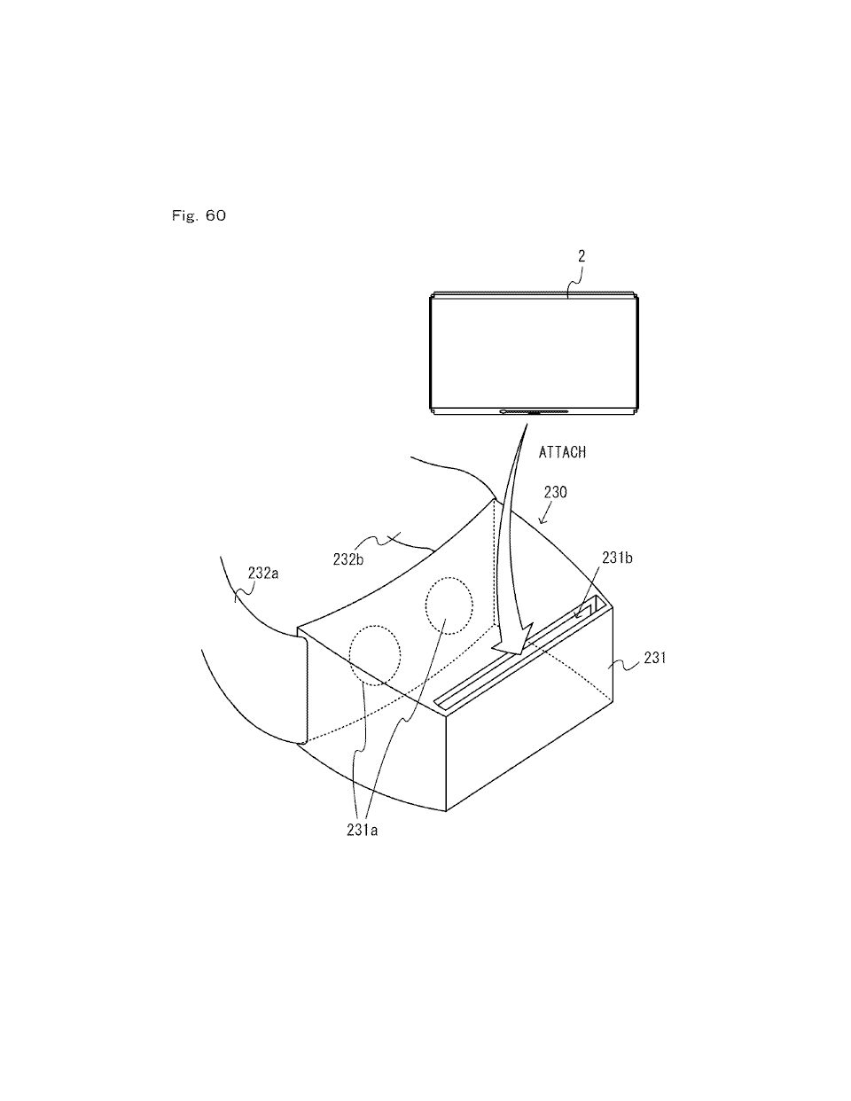
Stando ad un brevetto depositato recentemente da Nintendo, la futura console Nintendo Switch potrebbe essere compatibile con la realtà virtuale.
Il brevetto, risalente al 10 giugno, è stato scoperto oggi dall’utente di NeoGAF Rösti. Il dispositivo in questione è denominato HMD (Head Mounted Display – display montato in testa, letteralmente), ospita al suo interno la console ed è utilizzabile con i controller Joy-Con, che garantiscono l’integrazione tra i due sistemi. Il dispositivo sembra molto simile a quelli low-budget destinati ai cellulari, come Samsung VR e il più recente Google VR.
Nintendo non ha ancora confermato nulla di tutto ciò in via ufficiale. Probabilmente, se davvero deciderà di puntare sulla realtà virtuale, lo annuncerà dopo il lancio della console. Staremo a vedere.
Nintendo Switch è attesa per marzo 2017.






