Microsoft ragiona sul futuro e a cosa potrebbe essere il gaming tra qualche anno: la nuova idea che potrebbe cambiare tutto quello che sappiamo.
Il mondo dei videogiochi è una creatura in continuo mutamente, che non fa altro che cambiare ogni singolo giorno per continuare ad esistere e a farci innamorare ogni giorno. Se tutti i titoli fossero uguali, anche persino simili al nostro gioco preferito, comunque ne risulterebbe un’esperienza generale piatta e alla lunga estremamente stancante e noiosa. 
Bisogna sempre cercare qualcosa di nuovo e particolare da proporre anche se non è affatto facile e da questo punto di vista ne abbiamo le prove ogni singolo giorno. Basti pensare a quanti studi di sviluppo chiudano improvvisamente, quanti progetti vengano abbandonati o ridimensionati parecchio e quanti titoli usciti nell’ultimo lustro siano remake o remastered di vecchie glorie del passato.
Ecco quindi che mai come in questo periodo di stagnazione totale dal punto di vista delle idee e dei progetti, ogni più piccola scintilla di creatività e ogni potenziale riflessione che possa cambiare l’industria del gaming deve essere oggetto di profonde valutazioni. E ora sappiamo che Microsoft ha un’idea davvero particolare per il futuro dei videogiochi.
Microsoft e quel brevetto segreto che potremmo vedere in Minecraft 2
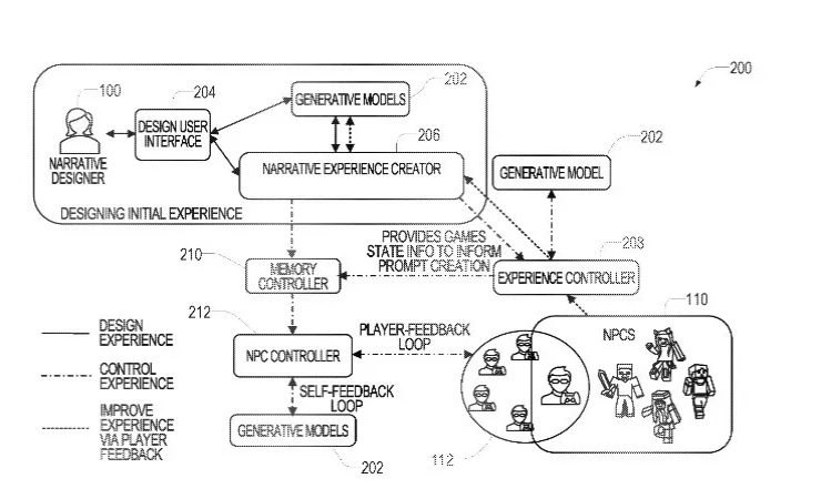
In queste ore è finito online un brevetto segreto depositato da Microsoft nel corso del 2024 che si basa tutto su un’idea molto particolare per rendere il mondo dei videogiochi ancora più unico e speciale e soprattutto molto più personalizzabile su ogni singolo player che sta vivendo questa o quella avventura. 
Il brevetto fornisce un riassunto veloce dei modi in cui i giochi possono essere vissuti, ad esempio generando rapidamente oggetti importanti per la narrazione in base ai comandi forniti dal giocatore al videogioco vero e proprio. In tal senso funziona meglio un esempio specifico per capire come applicare questa nuova tecnologia.
Si pensi ad un universo sandbox come Minecraft. Con questa tecnologia veloce e intuitiva i giocatori potrebbero chiedere immediatamente e ricevere dal loro videogioco nuove regole di gioco, sistemi, personaggi NPC o contenuti narrativi. A proposito di personaggi ecco i migliori di Marvel Rivals per vincere sempre.
Perfetto per un potenziale Minecraft 2, questo nuovo sistema potrebbe rivoluzionare davvero la storia dei videogiochi usando l’IA, i feedback dei videogiocatori e tanta fantasia per andare lì dove nessuno è ancora arrivato: farci creare il nostro mondo di gioco subito e gratis. Per ora sono solo brevetti e speculazioni, ma comunque è chiaro che il futuro sia in mano alle IA, nel bene e nel male.




